LGD, 美·獨서 中 티얀마와 특허 소송전 고지 선점
||2026.03.02
||2026.03.02

LG디스플레이가 중국 디스플레이 업체 티얀마와 기술 분쟁에서 승기를 잡았다. 미국과 독일에서 유리한 결정을 받아 내는 데 성공, 최종 소송에서도 우위가 예상된다.
2일 업계에 따르면 미국 특허심판원은 티얀마가 LG디스플레이 특허(미국 특허 11251394)에 대해 제기한 무효 심판을 최근 기각했다.
지난 1월 LG디스플레이가 특허심판원에 신청한 기각 요청이 받아들여진 것이다.
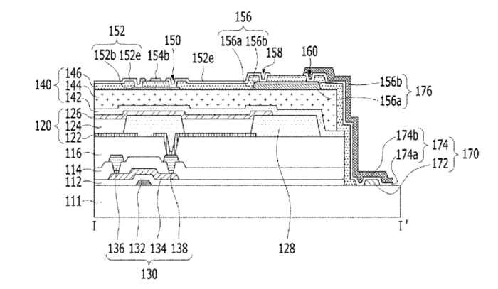
이 특허는 LG디스플레이 유기발광다이오드(OLED) 터치온인캡슐레이션(TOE) 기술을 다룬다. 터치 센서를 OLED 패널 박막봉지층에 직접 통합, 별도 터치 패널 없이 디스플레이 무게와 두께를 줄이는 게 핵심이다. LG디스플레이가 애플, 마이크로소프트(MS), 구글 등에 공급하는 패널에 해당 특허가 적용된다.
LG디스플레이 특허가 인정되면서 티얀마와의 특허 분쟁에서 LG디스플레이가 유리한 고지를 차지했다는 평가가 나온다. LG디스플레이 특허 권리 범위가 변동되지 않은 만큼, 기술 권리가 LG디스플레이에 유지되고 있어서다.
또 이번 판결을 통해 LG디스플레이가 티얀마에 압박 수위도 높일 수 있게 됐다. 통상 특허 무효 심판은 개시되면 최종 심결이 나오기까지 1년 이상 소요된다. 특허심판원의 기각 판결에 즉시 특허가 유효하다는 결론에 도달, 현재 진행 중인 소송에서 LG디스플레이가 유리한 고지를 차지할 수 있다.
양사 소송은 한국과 중국 디스플레이 업계 대리전 성격이어서 소송의 승패와 추후 특허사용권 협상 결론에 관심이 쏠린다.
LG디스플레이는 2025년 6월 미국 텍사스동부연방법원에 티얀마가 7건의 특허를 침해했다며 소송을 제기했다.
티얀마가 이에 대한 반격으로 같은 해 10월 그 중 한 건의 특허에 대해 무효심판을 신청했다. 이번에 기각 결정이 나온 게 이 건이다.
다른 6건의 특허에 대해서는 무효심판을 신청하지 않았다. 티얀마는 맞불격으로 지난해 12월 LG디스플레이가 자사 특허 4건을 침해했다면서 텍사스서부연방법원에 소송을 제기했다.
한편, LG디스플레이는 독일에서도 티얀마의 공세를 방어했다. 독일 뮌헨 법원 제7민사재판부는 지난 1월 티얀마가 LG디스플레이가 자사 박막트랜지스터(TFT)-액정표시장치(LCD) 특허를 침해한 제품을 유통하고 있다며 이를 금지해달라고 주장한 가처분 신청을 최근 기각했다.
LG디스플레이는 독일에서도 지난해 6월 티얀마를 상대로 특허 침해소송을 제기했다. 이에 대한 반격 차원에서 티얀마가 가처분 신청을 했지만 독일 법원이 LG디스플레이 손을 들어줬다.
김영호 기자 lloydmind@etnews.com
고객님만을 위한 맞춤 차량
